独家!广东首年新高考,同一院校录取最高能差多少分?
2021年是广东省高考综合改革实施的第一年,各高校的招生投档情况更是受到社会各界的广泛关注。投档分数不仅是大部分高校招生质量的直接体现,也是后几届考生家长报考决策的重要依据,同时,广东作为高考大省,在高考综合改革实践中的成果,是后续改革省份政策调整的重要参考。
然而,在综合改革之后,高校招生的最小单元,由“院校”转变为了“专业组”,每个专业组单独投档,单独划线,同一院校的专业组之间不会进行志愿调剂。如何科学合理地参考同一院校的多个投档线,找到规律,并确定适合自己报考的学校,是摆在广东考生和家长面前的新挑战。
今天,掌上高考将从同一院校不同专业组之间的分差入手,在盘点2021年分差较大的高校的同时,也为考生和家长提供一种切实可行的投档线分析思路。
2021专业组分差较大的院校
首选物理类
从2021年的首选物理类考生投档情况来看,专业组间分差最大的院校是南方医科大学,专业组最高分643分,最低分518分,分差高达125分。

分数最高的206专业组中,专业为本硕博连读的临床医学;而分数最低的211专业组中,专业为英语、公共事业管理等医学院校的冷门专业。
排名第二的也是一所本省院校——深圳大学,最高分621分,专业为计算机类的卓越班或试验班,最低分518分,专业为护理学,分差103分。
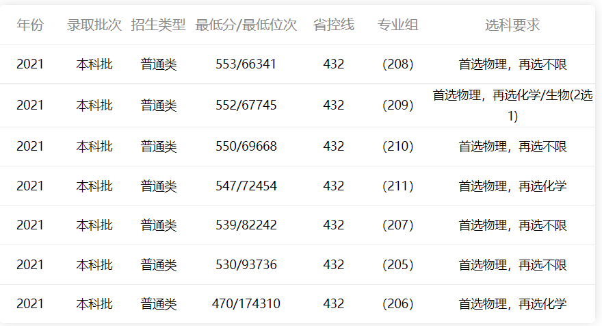
排名第三的是哈尔滨师范大学,该校在广东省物理类招生共分为7个专业组,最高分553分,最低分470分,分差83分。

最高分的208专业组中,只有一个数学与应用数学(师范)专业,最低分的206专业组中,专业为材料化学和制药工程。
第四到第十位的院校情况如下:

2021专业组分差较大的院校
首选历史类
从2021年的首选历史类考生投档情况来看,专业组间分差最大的院校是深圳大学,专业组最高分604分(金融科技专业),最低分519分(交通运输类专业),分差高达85分。
排名第二的则是广州中医药大学,专业组最高分597分,专业为近年来炙手可热的中医类本博连读与本硕连读,专业组最低分为523分,专业为护理学,分差74分。

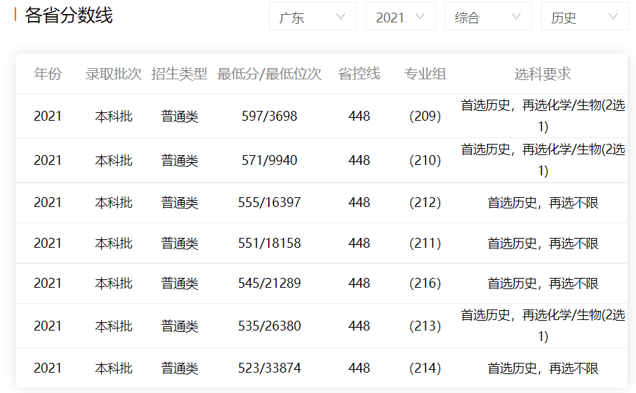
排名第三的是位于山东省济南市的山东师范大学,专业组最高分572分,专业组最低分518分,分差54分。

第四到第十位的院校情况如下:

专业的冷热分化更为显著
这种情况在本省院校中更为明显
高考综合改革对高校招生录取最大的影响,在于打破了以学校为最小单位的报考格局。从2021广东的投档情况来看,“组内调剂”代替了“校内调剂”,高校招生的分数范围也随之扩大,也就是“热的更热,冷的更冷”。以南方医科大学为例,有志于报考临床医学本硕博连读的高分考生,往年由于担心存在被调剂到校内其他专业的风险而报考其他层次略低院校的情况不在少数,今年南方医科大学为此专业单设了一个专业组,打消了这部分考生的后顾之忧,也获取了良好的效果。

同理,往年南方医科大学的较冷门专业(如护理,公共管理等),由于存在校内调剂,招生的生源质量会相对较高,但有部分考生是被调剂的情况。改为专业组之后,专业的投档分数与往年相比,出现了下降的趋势,但收获了更高的报考满意度。
这种情况在本省院校中更为常见,分差较大的高校排名中,广东的高校占了很大的比例,这是因为本省院校的招生类型更多,专业组划分的更为细致。如深圳大学,在物理类划分了46个专业组,在历史类中划分了25个专业组。另外,北京理工大学珠海学院,则是将普通专业、中外合作专业、国际班等项目划分到不同的专业组中,便于考生选择适合自己的报考机会。
专业内涵对报考的影响远高于选科
从专业组分差较大的院校统计情况来看,行业特色型高校占了一定的比例,如南方医科大学、昆明医科大学、贵州中医药大学、山西中医药大学等医学类院校,又如哈尔滨师范大学、山东师范大学、海南师范大学等师范类院校。此类高校由于特色鲜明,行业口碑好,其特色专业在招生中取得了不错的成绩。
从专业角度看,高分专业多为临床医学、口腔医学、中医学、师范类、建筑类等专业,而低分专业多为化工环境类、护理类、轻工类等专业。专业所学内容及未来发展方向对考生的影响,比选考科目的限制要大很多。
低分进学校再转专业?
“曲线救国”未必可行
在传统高考时代,很多考生会选择“院校优先,曲线救国”的报考方式,即先以较低的分数压线进入到某学校的低分冷门专业,再通过转专业等方式在大一时期转入热门专业,达到高考报考“低分高就”的目的。
在高考改革之后,这样“曲线救国”的实现成功率也许将越来越低。首先,每个专业组的选考科目要求不同,很多学校在招生简章中明确表示,报考时选考科目受限的专业未来将无法通过转专业的方式转入。以广州中医药大学为例,若某选考了历史、政治、地理的考生,以523的分数投档至了214专业组,未来,由于他高中没有选考化学和生物其中的任意一科,他将无法转专业进入597分的209专业组中的任一专业。

此外,部分高校还在招生时,加入了限制转专业的要求,如深圳大学的272专业组,在招生专业后的注释说明中明确表示,入学后不得转入其他专业。

专业的大类招生或成为新的必然趋势
虽然招生的最小单位已经调整为专业组,但专业的大类招生仍是未来发展的大趋势。所谓大类招生,是一种帮助学生“将选择放在体验之后”的招生方式。高校将本科所学内容相近的专业合并为一大类,在学生学习一段时间之后,再根据自己的兴趣和学习成绩分流到某一具体专业,既保证了学生专业选择的科学性,也敦促学生本科阶段为了自己喜欢的专业继续努力钻研,提高了本科阶段学生学习的主动性和积极性。
就以往的情况来看,大类招生的分流总是在固定时间进行,但从今年广东各高校的实践情况来看,部分高校也采用了因地制宜的方式。
例如,深圳大学的计算机类大类招生,包含计算机科学与技术、计算机科学与技术(创新班)、软件工程三个专业,分流的时间为大学的第三学期。

而北京理工大学珠海学院的工商管理类大类招生,包含市场营销、人力资源管理两个专业,分流时间为大学的第四学期。作为广东省内民办高校的第一梯队,北理工珠海学院的大类招生设置符合商科类学科的培养特点,形式上更为灵活。

在高考政策发生调整,高考招生录取规则相应变化下,生搬硬套的延用以往最低投档分数线来做高校是否值得报考的判断,已经不合时宜。掌上高考在此建议各位广东家长和考生,要打破以往“唯学校论”或“唯专业论”的思维定势,关注行业趋势发展和考生个人发展的匹配度,对目标高校的专业组设置进行深入了解,才能在这变化的新形势中抢得报考先机。
- 上一篇
广东:2021年夏季普通高考录取考生46.05万
广东省2021年夏季普通高校招生录取工作于7月8日开始,经过提前批、本科、专科批次的录取,至8月14日顺利结束。全省共有46.05万名考生被各类普通高校录取,其中本科录取31.18万人,专科录取14.87万人。今年是我省新高考改革落地的第一年,社会各界对招生录取工作十分关注。省招生办严格执行招生政策,加强审核校验,深入实施“阳光工程”,确保招生录取公平公正。广大考生和家长认真研读各项招生录取政策,考生志愿填报合理,院校生源均衡。各招生院校、省有关部门和市县招生办按照职责分工,履职尽责,有力保障招生录取工作
- 下一篇
潍坊医学院更名“大学”?官方回复!
近日,有网友在人民网领导留言板上询问“潍坊医学院改名的事情是否属实”。潍坊市教育局对此进行了回复。潍坊市教育局答复:潍坊医学院更名“大学”是全市人民的期盼。2017年,潍坊医学院更名大学纳入教育部高等学校设置“十三五”规划。2019年11月,潍坊市政府与山东省教育厅、山东省卫健委签署协议共建潍坊医学院,将加快学院发展作为重中之重,进一步加大资源整合力度,强化要素保障,全力支持潍坊医学院创建高水平医科大学。目前,潍坊医学院更名“大学”已进入关键冲刺阶段。下一步,将加大支持力度,强化服务保障,推动政策落实,推
微信收款码
支付宝收款码