2016年雅思考试时间安排出炉 报名费用将调整
英国文化教育协会正式公布2016年雅思考试日期。2016年雅思考试共设有48个考试日期,从即日起开始接受公开报名。截至目前,雅思考试在全国37个城市共设有62个考场,考生可登录中国教育部考试中心雅思报名网站http://ielts.etest.edu.cn查阅具体日期和场地安排,并进行在线报名。
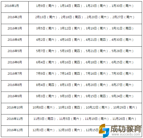
2016年雅思考试日期

用于英国签证及移民的雅思考试 (IELTS for UKVI) 日期与雅思考试日期相同。
2016年雅思生活技能类考试 (IELTS Life Skills) 日期

同时,自2016年1月1日起举行的雅思考试,其报名费调整为人民币1850元,现行转考、退考手续费,以及此日期之前的考试相关费用维持不变。此外,用于英国签证及移民的雅思考试(IELTS for UKVI)、雅思生活技能类考试(IELTS Life Skills)的相关费用也维持不变。

威久留学微信号:v9wiseway
- 上一篇
万圣节,想捣蛋?本周日有场狂欢等着你!
万圣节即将来临 ▼ 你准备参加化妆舞会? ▼ 还是去要糖果? ▼ 都不如来参加2015年最后一次加拿大留学盛典! 加拿大名校见面会 11月1日(周日)13:30 中山东路1号工商银行钟山支行财富中心3楼咨询电话:4008884660 活动亮点 2016-2017年加拿大名
- 下一篇
加拿大留学遍地都是中餐馆
加拿大的中餐馆以粤菜居多,这大概因为早期亚洲移民多来自香港、广东有关。近年来,随着越来越多的大陆新移民来到加拿大,诸如四川、江苏、上海、山东风味的餐馆陆续开张。我是597留学俱乐部的冉老师,下面我给大家具体介绍一下加拿大留学遍地都是的中餐馆。 一般说来,在中餐馆请客吃饭,
微信收款码
支付宝收款码