苹果继续研究如何将iPhone插入Apple Glass耳机
而且您认为Google Glass很难看。将来,我们可能会将iPhone绑在眼前。Apple并不是将iPhone视为“ Apple Glass”的潜在替代品,更多的是它希望了解用户如何利用其所有设备。iPhone的显示效果特别好,因此也许在某些情况下您可以舒适地将其放在眼前。
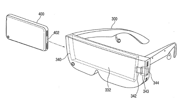
“用于保持带有显示的便携式电子设备的头戴式显示设
苹果正在继续完善这样的概念,即如何使增强现实可穿戴设备(如“Apple Glass”)使用iPhone作为其头戴式显示器。
而且您认为Google Glass很难看。将来,我们可能会将iPhone绑在眼前。

Apple并不是将iPhone视为“ Apple Glass”的潜在替代品,更多的是它希望了解用户如何利用其所有设备。iPhone的显示效果特别好,因此也许在某些情况下您可以舒适地将其放在眼前。
“用于保持带有显示的便携式电子设备的头戴式显示设备”是新近公开的专利申请,其审查了这样做的好处。这也不是苹果第一次研究这一点。
苹果也一直在研究头戴式显示器的不同方法,至少在过去十年中也是如此。最新版本提供的是它假定我们仅偶尔将iPhone用作耳机。专利申请说:“使用头戴式设备,用户可以观看由便携式电子设备提供的媒体。”“例如,用户可以将个人电子设备(例如,可从加利福尼亚州库比蒂诺的苹果公司购买的iPodTM或也可从加利福尼亚州库比蒂诺的苹果公司购买的iPhoneTM)耦合到通过电缆或电线将其安装在头戴式设备上。”
它继续说:“这种配置可以允许用户在私人显示器上观看媒体,而媒体是由个人手持设备提供的。”“但是,有时在某些情况下,有线连接对于用户而言可能不方便且麻烦(例如,用户必须分别持有多个设备并处理电缆)。”
专利申请说:“除了笨拙之外,耦合系统还经常利用冗余功能,这在将这些设备一起使用时并不必要。”“举例来说,每个设备都利用显示屏,这会增加整个系统的成本,尺寸,重量和复杂性。”
- 上一篇
Microsoft Edge在新的公共Beta中获得了本地M1支持
Microsoft的Microsoft Edge浏览器的“ Canary” Beta公开版本已发布为Apple SiliconM1的本机版本。 微软Edge微软的开发团队宣布,其Microsoft Edge浏览器的Apple SiliconM1本机版本现已上市。到目前为止,它已经在团队称为Canary的频道中进行了介绍,该频道的最新版本可在全面公开发布之前获得。 您问,我们送货了!现在,我们的Canary频道提供了对Mac ARM64设备的本地支持。立即从我们的Microsoft
- 下一篇
Eve将流行的HomeKit应用程序引入了Mac
Eve将流行的HomeKit应用程序引入了Mac,使您可以查看自己的房屋,创建场景和控制附件。Eve应用程序的第5版通过作为Mac上第一个HomeKit应用程序之一启动,扩展了其实用性。适用于Mac的Eve 5应用程序具有一个侧边栏,可以分解您家中不同的房间和配件。选择一个房间,您可以看到其中的配件并轻松控制它们。Apple仍然不允许您从Mac更新或添加配件,但这是唯一的限制。 Eve应用程序的此更新还包括iOS 14的更新。iPad上的用户将体验全新的本机侧边栏。夏娃已经改写了该应用程序,以利用苹果的布
微信收款码
支付宝收款码