万元
-
12岁女孩豪掷5万元买高阶卡牌,网友:等同于赌博!
温馨提示:模拟志愿填报用掌上高考,信息丰富准确,一键生成“冲-稳-保”志愿。点击此处,开始精准填报吧!12岁广东女孩张秋把自己集来的稀有卡和特殊价值的卡牌围成6圈,拍成花样视频,配上这些文字,发在朋友圈。这6圈卡牌的价值,将近2万元。为了拥有这些卡牌,过去一年里,她花了5万余元。沉迷于卡牌的不止张秋。13岁四川女孩李雅同样“陷进去了”,为了在直播间拆卡,她在1个月内偷偷刷爆了外公的信用卡,总共下了58单,消费5000多元。为什么一张小小的卡牌会让平时乖巧节俭的小孩变成这样?张秋妈妈和李雅妈妈百思不得其解。
万元温馨提示卡牌 -
剑南春践行公益,展现企业担当
2021年我国经济社会发展取得新的重大成就,实现了“十四五”良好开局。中国知名企业剑南春集团积极响应党和国家的号召,在实现高质量发展的同时,持续推出扎实举措,积极投身公益,热忱回报社会。8月18日,2022年绵竹市红十字博爱基金剑南春助(奖)学金发放仪式在绵竹市红十字会举行。自2011年起,剑南春通过该会设立剑南春助(奖)学基金,这场持续十年的助学长跑至今已投入近400万元,帮助726名学子圆梦大学。“教育兴则国家兴,教育强则国家强”。不仅提供资金支持,剑南春还格外关注学生的未来成长。围绕教育普惠发展,剑
绵竹万元剑南春 -
本专科生助学贷款每年最高额度提高至12000元
国务院总理李克强9月1日主持召开国务院常务会议,部署加大对市场主体特别是中小微企业纾困帮扶力度,加强政策储备,做好跨周期调节;决定强化国家助学贷款支持,让更多家庭经济困难学生安心求学;通过《中华人民共和国农产品质量安全法(修订草案)》。为更好缓解家庭经济困难学生后顾之忧,帮助他们安心求学、学有所成,促进教育公平,会议决定进一步完善国家助学贷款政策。一是自今年秋季学期起提高贷款额度,将本专科生每生每年最高贷款额度由8000元提高至1.2万元,研究生由1.2万元提高至1.6万元,财政对学生在校期间的贷款利息实
万元学生额度 -
下达近44亿元专项资金!支持这些高校发展
8月6日,山东省教育厅公布《山东省教育厅2021年随年初预算下达项目分配方案》,2021年,山东省财政共安排“双高”建设工程专项支持资金16.2亿元,对省属高校15个“高水平大学”建设单位、51个“高水平学科”建设项目和15个“培育学科”建设项目予以支持,共涉及28所高校。安排应用型大学建设工程专项支持资金7.7亿元,对20所首批支持的应用型本科高校、6所鲁西地区高校、6所省市共建高校和37个国家级一流本科专业建设点、230个省级一流本科专业建设点予以支持,共涉及31所高校。安排科教融合专项经费12.45
万元经费亿元 -
【心理辅导】为子求学心切中圈套四位家长被骗近30万元心理建设
“高考(Q吧)分数多少不要紧,只要肯花钱,我就能保他上想上的大学。”近日,省会4名考生的家长,就这样被骗子忽悠走了近30万元所谓的“活动”经费。经石家庄市东华路派出所连日摸排、侦破,涉嫌诈骗的3名犯罪嫌疑人于8月31日被抓获。2008年初,省会刘先生结识了某教育信息公司负责人、自称资深教育人士的王某,为能多了解些高考信息,刘先生没少请王某吃饭。6月底,刘先生女儿的高考成绩下来了,距离所期望学校的分数却有数十分,心急的刘先生给王某打电话咨询时,王某胸有成竹地说
万元公章王某 -
安徽一95后侵吞公款近7000万,贪污款买游戏装备和奢侈品
近日,安徽省滁州市中级人民法院进行的一场司法拍卖中,一张起拍价80元的游戏卡牌被炒至8700余万元。虽然这场天价拍卖因“拍品与实际竞价严重不符,可能存在恶意炒作与竞价行为”被叫停,但游戏卡牌的原主人“95后”干部张雨杰,却因此受到社会广泛关注。据查,其在滁州市不动产登记中心交易管理科工作期间,通过伪造收款事实等方式侵吞公款近7000万元,用于消费挥霍和支付买房费用。张雨杰案并非个例。记者梳理发现,今年已有多名“90后”干部被查,其中不
万元公款干部 -
承担30万元维修费?撞劳斯莱斯外卖小哥:事故责任未定
7月15日,在广东湛江霞山区一路口,一辆外卖电动车与一辆劳斯莱斯相撞。网传的消息称,受损的劳斯莱斯维修费将达30多万元,将由全责的外卖小哥承担。但极目新闻记者18日从湛江交警处获悉,事故目前尚未定责。网友拍摄的视频显示,一辆黑色的劳斯莱斯保险杠侧面被撞,车漆被刮掉,电动车则侧翻在地上。有消息称,这辆劳斯莱斯价值600万元,为当地一车行所有。车行工作人员表示,当时劳斯莱斯为直行出路口转弯,电动车速度很快开了过来,于是发生相撞。外卖小哥负全责,劳斯莱斯的维修费用需要大约30多万元。18日中午,记者致电湛江交警
小哥万元劳斯莱斯 -
山西大同警方破获特大网络赌博案 每日赌资上千万元
新华社太原7月18日电(记者孙亮全)山西大同警方近日破获一起特大网络赌博案,抓获犯罪嫌疑人26名,冻结涉案资金2100多万元、虚拟币330多万元。今年3月,大同市公安局反诈中心民警在工作中发现,当地居民晨某在2019年10月至2021年2月期间,在某网络赌博平台以时时彩、五分彩、百家乐等方式进行赌博,并发展3名下线参赌。经初步研判,警方发现该网络赌博平台的服务器位于香港。近一年时间内,该平台发展境内赌客16000多人、高级代理800多人,每日参赌资金上千万元。大同警方随即成立专案组立案侦查。专案组民警利用
万元警方赌资 -
魔幻操作!业主卖房搭售380万毕加索假画,究竟是为什么?
“当西安遇上毕加索”,这不是画展,而是当地业主为了应对“限价”想出来的计策。近日,一则魔幻卖房信息在西安地产圈流传。某业主将一套价值超过600万元的房子以300万元的价格挂牌出售,并附赠一个车位。但别高兴太早,房价之外,业主还提了一个额外要求——购房者必须附带购买一幅毕加索假画,虽是假画,却标价高达380万元。针对该消息,记者咨询多位西安中介,均得到肯定回答。“房源是真实的,业主也诚心卖。之所以这么操作,是因为西安近期出台
二手房万元二手 -
北京市创业担保贷款取消人员类别和户籍限制
新华社北京6月30日电(陈旭、李爱生)个人创业担保贷款最高贷款额度为50万元、小微创业担保贷款最高额度300万元、借款人年利息2.35%、无担保费用、取消人员类别和户籍限制……在北京的创业者迎来利好消息,这是记者日前从北京市人力资源和社会保障局举办的“便民利企办实事,创贷政策进基地”活动上获悉的。
担保贷款万元北京
据悉,北京市创业担保贷款是由政府设立贷款担保基金、受托担保机构提供担保、经办银行发放贷款、财政部门给予贴息的政策性贷款。今年以来,北京加大政策支持力度,扩大创 -
失控的拍卖!竞拍者谈游戏卡拍出8700万经历
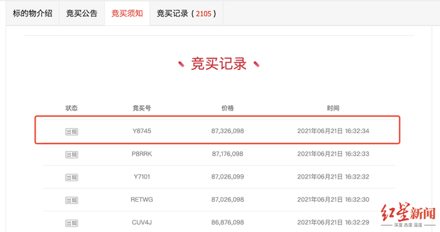
离谱的价格“52156075元!54106076元!87326098元!中止拍卖!”竞买人“Y8745”并没有想到,自己的出价会成为这场喧嚣拍卖中止前的最后一个竞买价格。6月21日,一场司法拍卖登上微博热搜,一张评估价仅为100元的“青眼白龙金卡”,竞买价格竟然突破了8700万元!随后,阿里司法拍卖发布公告称中止了此拍卖,理由是“拍品与实际竞拍价格严重不符,可能存在恶意炒作与竞价行为”。然而,这场闹剧并没有结束
万元这场芒果 -
【失控的拍卖】竞拍者谈游戏卡拍出8700万经历 背后真相究竟是什么?
离谱的价格“52156075元!54106076元!87326098元!中止拍卖!”竞买人“Y8745”并没有想到,自己的出价会成为这场喧嚣拍卖中止前的最后一个竞买价格。6月21日,一场司法拍卖登上微博热搜,一张评估价仅为100元的“青眼白龙金卡”,竞买价格竟然突破了8700万元!随后,阿里司法拍卖发布公告称中止了此拍卖,理由是“拍品与实际竞拍价格严重不符,可能存在恶意炒作与竞价行为”。然而,这场闹剧并没有结束
万元这场芒果 -
游戏卡牌拍出8700万天价被叫停,背后详情始末曝光!
不知道大家小时候有没有看过一部动画片叫《游戏王》,由此衍生的《游戏王》卡片游戏累计发售突破251亿7000万张,创造了世界上贩卖数量最多的商业卡片游戏的吉尼斯世界纪录。而6月21日,有一件事情震惊了全网网友。一张叫“青眼白龙”的游戏卡,被安徽滁州中院拍卖,起拍价80元,开拍半小时就被加价到8732万余元!拍卖介绍中,司法平台提醒,该卡牌使用年限不明,长久未使用,无任何配件及说明书,为二手物品,品牌真伪不详,以实地看样为准。令人意想不到的是,根据阿里拍卖最新显示的竞拍结果,该游戏卡牌
天价卡牌万元 -
照片系PS!“清华毕业应聘保姆”涉事公司被查
“清华毕业生”求职家政“管家”,简历照片被指涉嫌造假,一度引发广泛关注。6月15日,上海市松江区市场监督管理局表示,目前已对涉事家政公司以涉嫌虚假宣传立案调查。5月25日,上海佑杰家政服务有限公司在社交网络平台上发布了一则应聘信息,标题“清华-保姆阿姨【35k】管家”引人注目。据该求职消息,应聘者李静今年29岁,毕业于清华大学,本科学历,正寻求合适家庭担任管家工作,期待月薪3.5万元。“名字是化名,学历真实的。&rdquo
清华松江区万元 -
甘肃:2021年农村免费医疗人才专项(专科)暨村医订单定向医学生招生公告
为贯彻落实省政府《关于进一步加强乡村医生队伍建设的实施方案》(甘政办发〔2015〕91号)精神,加快建立一支业务素质高、工作能力强的村医队伍,从2016年起,由省财政支持,我省连续10年开展农村免费医疗人才专项(专科)定向培养项目(以下简称农村医疗专项),重点为村卫生室定向培养村医,现将2021年甘肃省农村医疗专项招录工作有关事项通告如下:一、招生计划2021年计划招录临床医学专业、中医学专业农村订单定向三年制专科医学生500名,其中,甘肃中医药大学100名(中医学),甘肃医学院150名(临床医学),河西
专项万元卫生 -
后续来了!“清华毕业应聘保姆”涉事公司被查 照片系PS!
“清华毕业生”求职家政“管家”,简历照片被指涉嫌造假,一度引发广泛关注。6月15日,上海市松江区市场监督管理局表示,目前已对涉事家政公司以涉嫌虚假宣传立案调查。5月25日,上海佑杰家政服务有限公司在社交网络平台上发布了一则应聘信息,标题“清华-保姆阿姨【35k】管家”引人注目。据该求职消息,应聘者李静今年29岁,毕业于清华大学,本科学历,正寻求合适家庭担任管家工作,期待月薪3.5万元。“名字是化名,学历真实的。&rdquo
清华松江区万元 -
【心理辅导】不依赖男人的单身明星妈妈心理建设
余安安一对儿女另一个代表则是香港知名女星余安安。2003年她与丈夫结束了16年的婚姻,带着一对十来岁的女儿开始了新的生活。因为丈夫在离婚前已经破产,也没有支付一对女儿的教育费及家用,因此整个家庭的重担便压在了她的身上。余安安不得不以43岁“高龄”复处娱乐圈且大卖性感,虽然有时确让人觉得无法消受,但究其原因却多少令人感到钦佩。她曾坦言,不管拍戏、拍剧或广告,最重要是现在要养家,女儿读国际学校,学费不轻,为此她不能再过以往阔太太的悠闲生活,要努力赚钱保证一双女儿的生活。目前已接拍多支广
时方万元女儿 -
小学生“豪华生日宴”堪比婚宴:豪华之风当刹!
#container {width:100%;max-width:720px;margin:0 auto;}炫目的舞台灯光、煽情的主持人、歌舞魔术轮番上演……这不是一台电视晚会,而是小学生的生日宴。记者近日采访发现,一些家长热衷于给孩子举办生日宴,尤其是过12岁生日时,不仅要在高档酒店请客吃饭,邀请庆典公司进行布置策划,甚至在宴席结束后还组织同学们看电影、KTV唱歌、旅游等。这样一场生日宴花费动辄上万元,有的甚至高达二三十万元。一场生日宴花费大几万元山西太原的李女士近日给女儿办
生日太原市万元 -
【到底是谁的】男子中1001万彩票店主却说搞错?领奖人竟是店主表哥!法院判了
微信转账20元给彩票店主委托购买10注彩票喜中1001万大奖,谁知,兴奋不已的西安市民姚先生取彩票时却被兜头泼了一盆冷水,彩票店主告知其搞错了,彩票是别人的……这起备受关注的西安1001万大奖彩票纠纷案在庭审后沉寂了近一年半之后,终于有了判决结果。紫牛新闻记者从案件原告姚先生处获悉,西安市鄠邑区人民法院判决如下:确认体彩大乐透19082期彩票号110610-177960-065449-965002-739658五注彩票的所有者为原告姚XX。1001万大奖彩票纠纷案时间轴2019
彩票店主万元 -
雅培奶粉被检出问题!罚没1253万元!全部回收!
近日,雅培贸易(上海)有限公司因“生产经营被包装材料、容器、运输工具等污染的食品、食品添加剂”,被上海市市场监督管理局予以行政处罚。处罚内容为没收物品,没收违法所得343.740729万元,罚款909.314058万元。
万元雅培食品
针对此事,雅培方面回复记者,罚款源于“单一批次的雅培铂优恩美力配方奶粉1段900克产品(产品批次18042NT, 生产日期2020年6月3日)在2020年12月国家市场监督管理总局抽检中检出极微量香兰素”一事。据称,公司目前已经完成对市场中 -
啥情况?员工1年告了9家用人单位被认定碰瓷,这事你怎么看?
广东省高级人民法院日前发布劳动争议十大典型案例。这些案例涉及劳动报酬、年休假、经济补偿等内容,涵盖传统劳动争议、新业态用工纠纷以及疫情防控期间劳动者合法权益保护等。《工人日报》记者留意到,康某“职业碰瓷”诉某家具厂劳动争议案入选劳动争议十大典型案例。2018年9月3日,康某入职某家具厂。2018年12月6日,康某以被违法解除劳动关系为由,请求家具厂支付赔偿金等近14万元。家具厂主张,康某入职该工厂只有3天时间,实为“职业碰瓷”。经司法鉴定,康某持有的《计件工
万元劳动争议家具厂 -
【网络赌博害人匪浅】为还赌债,竟将手伸向公司保险柜
本报讯(通讯员陆希琬)沉迷网络赌博,欠下70多万元债务,为了回本,竟将手伸向了公司保险柜。日前,经上海市黄浦区检察院提起公诉,法院以盗窃罪判处被告人蔡某有期徒刑三年二个月,并处罚金1万元。疫情期间,工作量骤减的蔡某开始有大量时间上网浏览网页。一天,她进入了一个赌博网站页面,好奇心驱使下蔡某开始了网络博彩。起初有小小获利,但到后来却越赌越输,越输越想翻本。于是,她开始在各类网贷平台贷款,甚至为了拆东墙补西墙不惜高利贷。2020年10月23日,蔡某入职某培训机构,职位是公司前台,负责外来人员接待以及资料登记整
万元保险柜公司 -
啥情况?特斯拉Model 3涨价,曾一年多5次降价
在上调两款Model 3和一款Model Y在美国市场的售价之后,特斯拉也上调了一款Model 3在国内市场的售价。特斯拉微博5月8日发布,即日起,特斯拉Model 3标准续航升级版车型将上涨1000元人民币,这一调整也反映了成本波动的实际情况。上调之前,标准续航升级版Model 3在国内市场补贴之前的起售价为26.57万元,上调之后为26.67万元。扣除1.58万元的补贴之后,私人购买的起售价为25.09万元;非私人购买的补贴为1.11万元,起售价为25.57万元。特斯拉最新收报672.37美元,总市值
特斯拉万元美元 -
女游客称遭入室强奸,警方通报 不存在天价鉴定费
4月27日,一微信群中流传消息称,当日凌晨3点,上海女游客黄某在位于贵州省织金县官寨乡红岩村打磨石组的某农家乐住宿时,遭到当地村民赵某入室强奸,“警方不予立案”,同时还收取13.5万元的鉴定费。4月28日,织金县委宣传部工作人员回应表示,不存在需要缴纳13.5万元费用才能立案的情况,“需要缴纳的费用总共是318.8元,其中分泌物检测是13.5元,且是由派出所支付的”。织金县人民医院相关工作人员回应上游新闻记者表示,检验申请单上显示的分泌物检查价格为&ldqu
织金万元织金县 -
首尔现20万元一平米天价住宅 部分住宅一个月上涨约200万人民币
一直保持高位的韩国房地产市场,在难得呈现十周稳定态势之后,又迎来了新一轮的上涨。其中在首尔市的江南区,部分住宅的价格一个月就上涨了约200万元人民币。首尔市江南区,就是韩国这轮房价涨幅最高的区域之一。记者身边这个建成45年的住宅区虽然看上去有些老旧,但坐落于寸土寸金的首都核心地段,是首尔代表性的重建规划区。以这里一套使用面积为131平方米的公寓为例,目前售价已经突破40亿韩元,约合人民币2300万元,较上个月猛涨约合人民币200万元。其中一套公寓更是以每平方米折合近20万人民币的“天价&rdq
首尔万元住宅

微信收款码
支付宝收款码